Бендикс стартера SD9063

Цена доступна партнерам

Индекс AS : SD9063

Производитель : AS-PL

Аналог для : Mando

Поставщик: AS

Особенности товара:

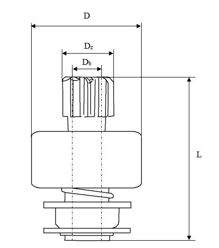
Вращение ACW
Количество зубьев 11
Диаметр зубчатки, Dz, мм 34
Длина, L, мм 134
Внешний диаметр, D1, мм 54

SD9063 бендикс стартера (для 031114200)